Podgrzewacz elektryczny pojemnościowy z wężownicą ELEKTROMET Venus Plus 100L LEWY
Produkty subskrypcyjne w twoim koszyku
Ustaw jedną częstotliwość dostaw dla wszystkich produktów subskrypcyjnych z twojego koszyka co:
Produkty subskrypcyjne w twoim koszyku
Podgrzewacz elektryczny pojemnościowy z wężownicą ELEKTROMET Venus Plus 100L LEWY

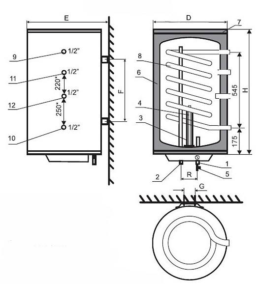
Ogrzewacze VENUS PLUS są to urządzenia ciśnieniowe przystosowane do pracy w pozycji pionowej króćcami dopływu i odpływu wody użytkowej do dołu, przy maksymalnym ciśnieniu wody użytkowej w zbiorniku 0,6 MPa (6 barów). Woda użytkowa ogrzewana jest grzałką nurkową 1,5 kW zasilaną prądem jednofazowym ~230 V i wężownicą spiralną, umożliwiającą podłączenie ogrzewacza np. do niskotemperaturowego kotła wodnego dowolnego typu.
Izolację termiczną zbiorników stanowi warstwa pianki poliuretanowej. Całość osłonięta jest zewnętrzną obudową z blachy stalowej pokrytej farbą proszkową. Króćce przyłączeniowe ciepłej i zimnej wody użytkowej (oznaczone odpowiednio kolorem czerwonym i niebieskim) wyprowadzone są przez dolną pokrywę obudowy. Dzięki nowoczesnym rozwiązaniom konstrukcyjnym i technologicznym ogrzewacze WJ/W „VENUS-plus” są ekonomiczne, trwałe i bezpieczne w eksploatacji, a także łatwe w instalacji i obsłudze. Mogą być instalowane w każdym pomieszczeniu, do którego doprowadzona jest sieć wodociągowa i instalacja elektryczna, za wyjątkiem pomieszczeń zagrożonych wybuchem lub narażonych na oddziaływanie temperatur poniżej 0°C.

1 - króciec zimnej wody,
2 - króciec ciepłej wody,
3 - grzałka elektryczna,
4 - anoda magnezowa,
5 - zawór bezpieczeństwa,
6 - izolacja termiczna
7 - górna pokrywa obudowy
8 - wężownica spiralna
9 - doprowadzenie czynnika grzewczego
10 - odprowadzenie czynnika grzewczego
11 - króciec cyrkulacji
12 - króciec czujnika temperatury
Dane techniczne:
- pojemność użytkowa - 86 dm3
- moc znamionowa - 1,5kW
- klasa efektywności energetycznej - C
- H - 1150 mm (wysokość)
- D - 430mm (średnica)
- przyłącza wody użytkowej - 1/2"






